MiniYo
Miembros-
Mensajes
15 -
Ingresó
-
Última visita
Tipo de contenido
Perfiles
Foros
Calendario
Tienda
Todo lo publicado por MiniYo
-
Déjate de cofres y ponle una baca con chupones, de las de toa la vida con unos buenos pulpos...
-
La historia es que a un conocido con este mismo motor le pasa exactamente lo mismo. Y parece ser que el ingeniero de la ITV le comentó que no era el primero... Please, algún alma caritativa con un A3 (de los anteriores) post-restyling motor 1.6 que lo pruebe y me diga algooooo. Saludos.
-
Buenas a todos. Resulta que me han tirado al pasar la ITV. La razón: No me pueden realizar la medición de gases... El caso es que el ingeniero en cuestión me indica que para realizar la medición en punto muerto mantenga el motor entre 2000 y 3000 RPM. Comienzo a acelerar, paso las 2000 revoluciones, y cuando intento mantenerlo en el margen indicado... sorpresa, el coche "corta" y las revoluciones caen hasta quedar a ralentí. Pruebo una, dos... cinco veces, imposible. Se lo comento al ingeniero de la ITV, lo intenta él... y lo mismo. Total, que me han tirao. Pero lo curioso es que le ocurre lo mihmito a un conocido con el mismo coche y motor (A3, 1.6), así que llamo a Desatención al Cliente y se lo comento. En un primer momento me dicen "ya conocemos el problema" y me indican que me llamarán para comentarme algo acerca del tema, pero con posterioridad me llaman y me dicen que no tienen ni idea y que pase por el concesionario para que me lo vean. En fin, que sería interesante que algún forero con el mismo modelo y motor intentase mantener el regimen del motor entre 2000 y 3000 vueltas y contara sus experiencias... Saludos.
-
Talleres alternativos no AUDI
MiniYo responde a paco4 de discusión en Concesionarios, talleres e importadores.
Pues te diré que los "señores" de MOTOR MIRASIERRA son unos chapuceros de tomo y lomo. En mi caso "murió" el cuadro de instrumentos en garantía y lo tuvieron que cambiar hasta 4 veces para dejarlo en condiciones. En cada cambio me dejaban su "rastro", (me fastidiaron la luna delantera, dañaron el salpicadero, rompieron la pieza donde van los limpias), por no hablar de las piezas pequeñas que me he encontrado rotas o rajadas con posterioridad. Envié una reclamación contra ellos directamente a la Presidencia del grupo VAG, de casi tres folios, en la que "sólo" relataba cronológicamente todas las visitas, (más de 10) y chapuzas que me hicieron. Por la cara y la actitud del Jefe de Taller debió surtir efecto, pues se esmeraron algo más en la resolución de la avería, aunque debieron tomar nota para no recibirme más por allí. En resumen, el típico conce donde tienes que volver varias veces para solucionar una única avería. PROFESIONALIDAD CERO. PD: Ah, eso si. Todo mu limpio y los chavales mu educaos. Recomendable para el ego de Dones y Doñas. -
Creo que en el motor diesel hay que poner más aceite que en el gasolina. ¿Alguien con motor 1.6 que haya cambiado el aceite en un conce me puede indicar si también le han cobrado 5 litros? Saludos.
-
No no. Me han cobrado una lata de 4 litros y otra de 1 litro. Me han dejado la de 4 en el maletero pero completamente vacia. ¿Alguien sabe si la capacidad del 1.6 es de 3,5 litros o de 4 litros y pico?
-
Enhorabuena. Preciosa máquina
-
Sisis. Lo hace sobretodo a ralentí. Incluso en punto muerto lo aceleras y el "tintineo" desaparece. La verdad es que con lo silencioso que es el motor al ralentí es un cognazo oir el ruidito todo el rato
-
Gracias por las respuestas y a ti tarin por molestarte en encontrarme los códigos. En cuanto al alojamiento de la varilla del aceite me han pedido la pieza, ya que no la tenían, y se han disculpado por la "chapu". Es de agradecer que no hayan tenido la desfachatez de intentar cargarme a mi el muerto, como me ha pasado con historias parecidas en otros talleres Tengo el VAG-COM, pero no dispongo del cable. De todas formas, después de todas las molestias que me están ocasionando no creo que haya problemas en que me codifiquen lo de la iluminación del cuadro. Ahora solo me queda la duda de por que me cobran 5 Litros de aceite Long-Life cuando según el manual la capacidad de mi coche incluyendo filtro de aceite es de 3,5 litros. http://www.audisport-iberica.com/foro/inde...howtopic=18873# Lo dicho, gracias a todos
-
Juer, que exitazo de post... :blink: :blink:
-
Pues nada, que a ver si me podéis dar algo de luz en este tema: En el manual aparece que la capacidad de llenado con cambio de filtro es de 3,5 litros, sin embargo en el cambio de aceite me han cobrado una lata de 4 Litros + una lata de 1 Litro. Me han dejado la lata de 4 Litros, pero vacia. ¿Dónde está el litro y medio restante? :blink: :blink:
-
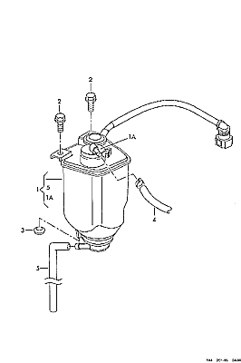
Buenas. Ayer recogí el A3 de su primera revisión (50000 km). El palo fue importante, nada menos que 800 leuros :o :o :o Revisión, cambio de discos y pastillas delanteras (estaban alabeados) y sustitución de la tubería de aireación del cárter Ya puestos, y ante semejante palo, les exigí me activaran el termómetro y el cierre confort... Bueno, y aquí mis dudas: -Al activarme el termómetro me han dejado la iluminación del cuadro siempre encendida, (incluso sin las luces puestas). Antes sólo se iluminaban las agujas. ¿Esto es así o es que se les ha ido la mano? -¿Es normal que la pieza (válvula) que está en la imagen adjunta emita un tic-tic-tic perfectamente audible (un sonido parecido al de los taqués pero más agudo)? Esta válvula se encuentra en la parte izquierda, junto al depósito de líquido refrigerante. -Por último la chapuza. Me encuentro la guía de la varilla de aceite (tubo naranja), fuera de su alojamiento y partida por la parte inferior :blink: ¡¡¡ AY QUE JOERSE !!! Se les parte y la dejan ahí, a ver si cuela... En fin, espero que me podáis responder alguna de mis dudas a lo largo de la mañana, pues esta tarde voy para allá a montarles el pollo. Saludos.
-
Bueno, pues igual que vino se fue. Ayer por la noche al arrancar el coche..., el testigo se apagó y no ha vuelto a quedarse encendido. Imagino que el error habrá quedado almacenado. Al menos esto me dá algo de vidilla para pedir cita y tranquilamente llevarlo al conce. Gracias a todos por vuestras respuestas. Un saludo.
-
Gracias toni_r. Menos mal que el coche es de la contraria . De todas formas yo tengo un BMW y hemos montao una porra en casa para ver cual de los dos nos arruina antes... ¿Sabéis si circulando así nos podemos cepillar el coche? Saludos.
-
Hola a todos. Aunque es mi primer mensaje, os sigo desde hace algún tiempo. Tenemos, (bueno la muhé tiene), el coche de mi firma, que ya nos ha dado más de un disgustillo . A los 6 meses nos tuvieron que cambiar el embrague, y antes de cumplir el año "murió" el cuadro y nos lo tuvieron que cambiar 4 veces, (las 3 primeras marcaba 35 km/h de más Bueno, el caso es que ahora vamos acumulando averías para visitar lo menos posible el taller. El relé de intermitencias no funciona y a partir de 90 km/h el volante vibra al frenar una barbaridad, (discos y/o problema con transmisión). El último problema se ha producido esta mañana, y es el motivo de esta consulta. En el cuadro se queda iluminado en amarillo el testigo de ELECTRONICA DEL MOTOR (símbolo con forma de motor). El coche aparentemente va bien, pero el manual dice de ir inmediatamente al taller ¿Alguien puede darme una pista de por qué aparece este testigo? ¿Qué puede ocurrir si continuo circulando así? Gracias y un saludo.
