iSeN Publicado 11 de Diciembre del 2008 Denunciar Publicado 11 de Diciembre del 2008 Hola, en unos dias probablemente me llegue un reposabrazos para montar en mi audi a4 b6 2.0 berlina. Alguien tiene alguna guía de montaje, instrucciones o brico de como hacerlo? Antes de romper nada.... jejeje Muchas gracias por vuestra ayuda Responder
Jisu-1.8T Publicado 12 de Diciembre del 2008 Denunciar Publicado 12 de Diciembre del 2008 Yo lo monté a posteriori sin ningun esquema ni nada, la verdad es que no recuerdo que tenga ningún secreto. Lo más difícil es hacer el agujero en la cónsola, pero se trata de hacer un agujero más pequeño e ir aumentando sin pasarse.l Salu2! Responder
iSeN Publicado 12 de Diciembre del 2008 Autor Denunciar Publicado 12 de Diciembre del 2008 Bueno, espero que no sea muy complicado, que del audi aun no he tocado nada... aver cuando llegue el reposabrazos que tal lo veo.... Sino a ver si alguna alma caritativa de barcelona o cercanias me hecha una mano.... jejejeje Responder
iSeN Publicado 23 de Diciembre del 2008 Autor Denunciar Publicado 23 de Diciembre del 2008 Hola, necesito que me echéis una manita (y no al cuello jejeje) para instalar el reposabrazos en un audi a4 b6 berlina. He sacado el cenicero y ahí hay una tuerca que parece corresponder con el soporte del reposabrazos, pero si lo coloco ahi, se pierde el cenicero? Alguien me puede poner 1 foto para que me haga 1 idea de como va montado, es que nunca lo he visto. Si hay que agujerear, que hay que hacerlo, del tamaño de todo el soporte del reposabrazos? Tengo que agujerear por la zona que indico con la flecha roja? Guiadme un poco por favor,que solo tengo esta imagen y estoy algo perdido. Gracias Responder
Escornacabras Publicado 23 de Diciembre del 2008 Denunciar Publicado 23 de Diciembre del 2008 (editado) Hola: Tranquilo, es facil y no pierdes el cenicero. Utiliza el buscador, hay mucha información al respecto y creo que en el aparatado de bricos hay algo. Lo más "dificil" es agujerear la consola. Lo que es muy importante es que a la hora de hacer "el agujero" pues tengas las medidas. Yo en un B6 antiguo que tenía le puse el reposabrazos; he ize el agujero sin tener las medidas y buf............... , casi lo hago más grande y me cargo el invento. Una vez puesto conseguí las medidas para hacer el hueco, y eso simplifica muuuuuucho, las cosas. Me parece que las tengo en otro ordenador. Si las encuentro te las envío porque es fundamental para no hacerlo mal. Saludos :claugh: Editado 23 de Diciembre del 2008 por Escornacabras Responder
iSeN Publicado 23 de Diciembre del 2008 Autor Denunciar Publicado 23 de Diciembre del 2008 Hola: Tranquilo, es facil y no pierdes el cenicero. Utiliza el buscador, hay mucha información al respecto y creo que en el aparatado de bricos hay algo. Lo más "dificil" es agujerear la consola. Lo que es muy importante es que a la hora de hacer "el agujero" pues tengas las medidas. Yo en un B6 antiguo que tenía le puse el reposabrazos; he ize el agujero sin tener las medidas y buf............... , casi lo hago más grande y me cargo el invento. Una vez puesto conseguí las medidas para hacer el hueco, y eso simplifica muuuuuucho, las cosas. Me parece que las tengo en otro ordenador. Si las encuentro te las envío porque es fundamental para no hacerlo mal. Saludos :claugh: Muchas gracias por tu información, estube buscando por el foro y no encontre nada para el b6, tal vez lo buscara mal, voy a volverlo a ver. Si me facilitas las medidas del abujero te lo agradeceria mucho. el problema es que aun no veo clara donde va la ubicacion del reposabrazos. Este va atornillado a una tuerca que hay debajo del cenicero verdad? Muchas gracias por vuestro tiempo Saludos Responder
iSeN Publicado 23 de Diciembre del 2008 Autor Denunciar Publicado 23 de Diciembre del 2008 Buenas, muchas gracias por tu ayuda Escornacabras, he econtrado unos pdf's y unas fotos que lo explican todo detalaldamente. Os pongo ulo que he encontrado sacado de otro post...por si alguien lo necesita... Saludos apoyabrazos.pdf cenicero_trasero.pdf pata_de_apoyo.pdf Responder
iSeN Publicado 23 de Diciembre del 2008 Autor Denunciar Publicado 23 de Diciembre del 2008 Y aqui una foto que subio un compañero para ver que tuerca es la que hay que quitar. Espero que no le moleste al propietario que las pongas aqui... Responder
Escornacabras Publicado 23 de Diciembre del 2008 Denunciar Publicado 23 de Diciembre del 2008 Los tornillos de la foto recuerdo que es lo correcto. Como se ha comentado lo más dificil es hacer el agujero en la consola. Te recomiendo que no empiezes nada si no tienes las medidas del agujero. Para mi es lo más importante. En cuanto pueda te lo miro, a ver si lo encuentro. Saludos Responder
iSeN Publicado 23 de Diciembre del 2008 Autor Denunciar Publicado 23 de Diciembre del 2008 Los tornillos de la foto recuerdo que es lo correcto. Como se ha comentado lo más dificil es hacer el agujero en la consola. Te recomiendo que no empiezes nada si no tienes las medidas del agujero. Para mi es lo más importante. En cuanto pueda te lo miro, a ver si lo encuentro. Saludos Las medidas ya las he encontrado gracias, estan en el pdf que adjunté antes. La unica duda que me queda es si me falta alguna pieza mas para poder instalarlo. Yo tengo lo que se ve en esta foto: Creo que me hace falta alguna guia que debe ir atornillada a la consola no? O va directamente atronillada al reposabrazos? Voy aver si me aclaro con el etka... gracias otra vez Responder
ioar Publicado 7 de Enero del 2009 Denunciar Publicado 7 de Enero del 2009 Hola a todos! Hoy he recibido un reposabrazos para el A4 B6. Isen, las medidas no salen en los pdf´s, lo he mirado varias veces y no las veo por ninguna parte. Me las puedes mandar por favor?? Graxias. Responder
iSeN Publicado 8 de Enero del 2009 Autor Denunciar Publicado 8 de Enero del 2009 Hola a todos! Hoy he recibido un reposabrazos para el A4 B6. Isen, las medidas no salen en los pdf´s, lo he mirado varias veces y no las veo por ninguna parte. Me las puedes mandar por favor?? Graxias. Buenas, me acabo de dar cuenta que como bien dices falta el pdf donde estan las medidas. El pdf lo saque de un post del foro. Mañana si puedo arrancar el otro pc, en el que tengo el pdf te las subo. Sino, en el coche tengo las hojas imprimidas. Mañana te digo algo. Saludos Responder
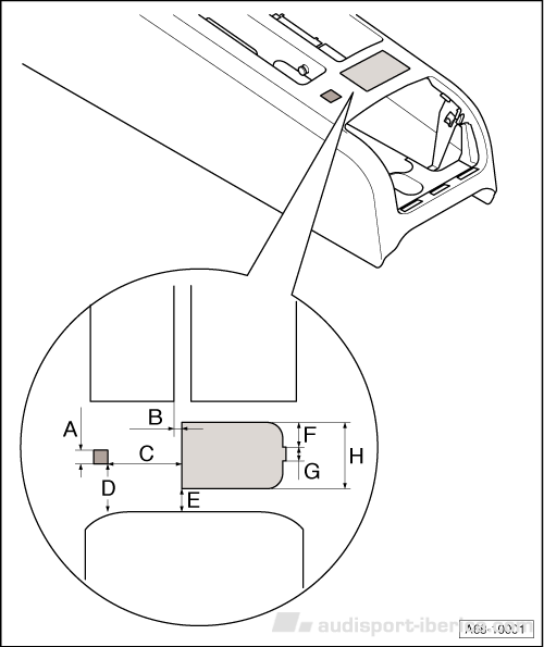
avant130 Publicado 9 de Enero del 2009 Denunciar Publicado 9 de Enero del 2009 Hola a todos! Hoy he recibido un reposabrazos para el A4 B6. Isen, las medidas no salen en los pdf´s, lo he mirado varias veces y no las veo por ninguna parte. Me las puedes mandar por favor?? :ranting2: Graxias. Buenas, me acabo de dar cuenta que como bien dices falta el pdf donde estan las medidas. El pdf lo saque de un post del foro. Mañana si puedo arrancar el otro pc, en el que tengo el pdf te las subo. Sino, en el coche tengo las hojas imprimidas. Mañana te digo algo. Saludos Creo que esto es lo que hace falata. SALUDOS: Escotadura para reposabrazos central: practicar Para poder practicar la escotadura para el reposabrazos central es preciso recortar la consola central según se muestra en la figura. La línea de trazo cortado en la cota -B- se entiende como línea auxilar. El recorte tiene una longitud de 64 mm. A - 9 mm B - 5 mm C - 39 mm D - 31 mm E - 15 mm F - 16 mm G - 9 mm H - 43 mm Responder
Jisu-1.8T Publicado 9 de Enero del 2009 Denunciar Publicado 9 de Enero del 2009 Pues yo lo monté sin tener ningún plano ni ninguna medida... hice un agujero pequeño y fui agrandando y probando hasta que entró la pata del reposapiés... Salu2! Responder
Publicaciones recomendadas
Unirse a la conversación
Puedes publicar ahora y registrarte más tarde. Si tienes una cuenta, conecta ahora para publicar con tu cuenta.